欢迎来到河北Huatihui(中国)Huatihui·官方网站索具集团官网!
服务热线:0312-8156666

您当前所在的位置:主页 > 产品中心 滑车系列
PULLEY SERIES
滑车系列

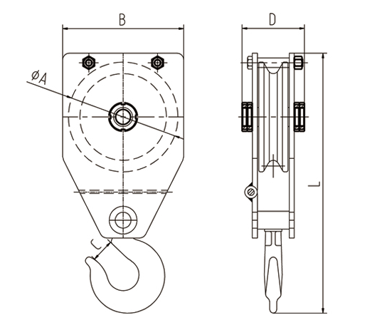
矿用滑车

矿用滑车

1、开口设计,方便挂钢绳。 2、侧板内侧有钢丝绳防脱装置,可以满足并下工作需求。 3、体积比国标起重滑车小,井下移动方便。

全国咨询热线:400-0312-400

更多联系方式
-产品详情- -产品参数-
1、开口设计,方便挂钢绳。
2、侧板内侧有钢丝绳防脱装置,可以满足并下工作需求。
3、体积比国标起重滑车小,井下移动方便。

产品参数

相关产品

创造客户价值 助力客户成功

凭借着高新的技术、优异的品质及良好的服务赢得了客户点赞,在国内外众多企业大放异彩!

冀ICP备08100751号-1/冀公网安备 13060802000198号